《小程序》产品升级更新——【表单】管理体验优化
【使用场景】
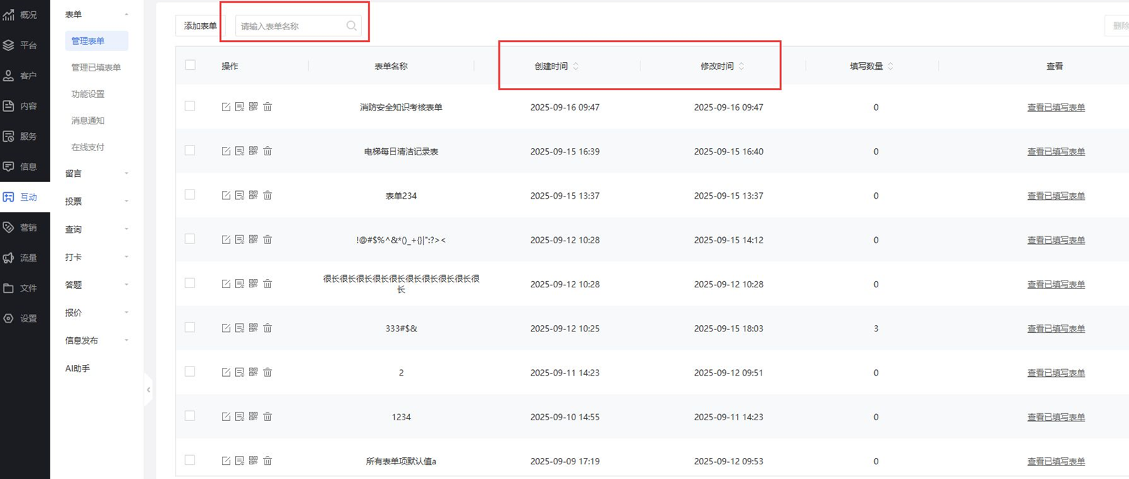
后台表单列表管理,包括不限于排序、搜索等便捷管理相关的支持。
【功能说明】
【版本】无版本要求
【功能介绍】
表单管理 新增支持名称搜索、创建时间排序、修改时间排序
转载时需注明来源!首发网站:如乐建站之家;原文网址:https://www.rulejianzhan.com/update/15975.html
您的位置:首页 > 产品升级更新 > 《《小程序》产品升级更新——【表单】管理体验优化》 文章
【如乐建站之家】由范如乐于2013年创建至今,立志于解决新手不会快速自己建网站的痛苦,让你也能零基础快速学会自己建网站!详细教程点击下图: